John Deere Riding Lawn Mower Replacement Deck Belt 54 GX21395 View larger
  • John deere 54 inch mower deck belt sale
  • MTD 490 501 M067 Deck Drive Belt 148 1 4 in L 0.672 in W 54 in Deck
  • John deere 54 inch mower deck belt sale
  • John Deere 425 54 Mower Deck Repair Rebuild w New Belt Install
  • 8TEN Deck Belt for John Deere 54 inch GX 255 325 345 355 GT245 LX 280 288 X340 X500 M154960 Amazon Patio Lawn Garden

John deere 54 inch mower deck belt sale

John deere 54 inch mower deck belt sale, John Deere Riding Lawn Mower Replacement Deck Belt 54 GX21395 sale

$90.00

SAVE 50% OFF

$45.00

- +

Add to wishlist


Frasers Plus

$0 today, followed by 3 monthly payments of $15.00, interest free. Read More


John deere 54 inch mower deck belt sale

John Deere Riding Lawn Mower Replacement Deck Belt 54 GX21395

723KB 2001 null null null null 3 null 3 2003 null syAj2GM1KaDbbM

MTD 490 501 M067 Deck Drive Belt 148 1 4 in L 0.672 in W 54 in Deck

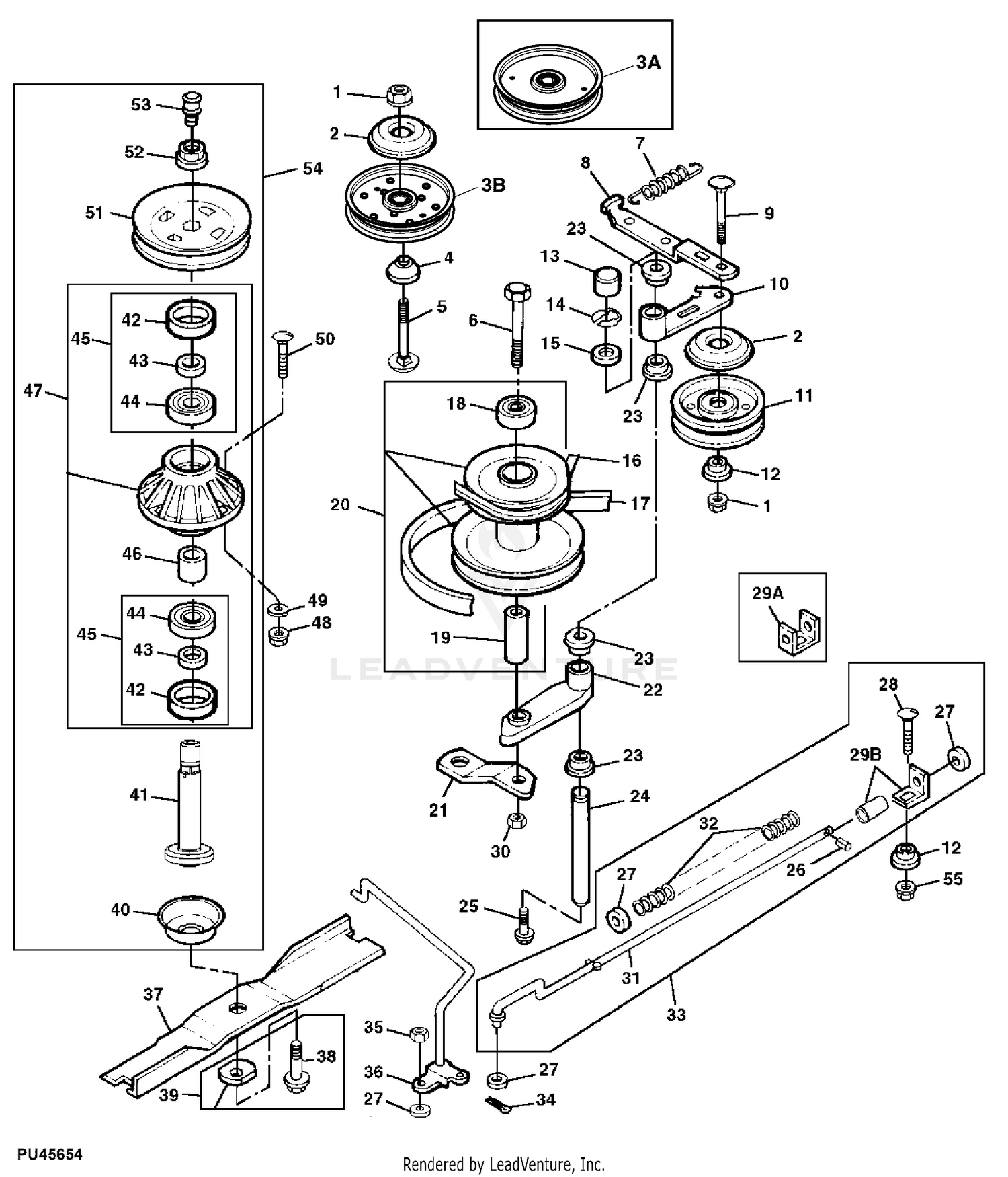
John Deere Mower Deck 54 inch LX288 GT235 Sheave Blade Belt and Spindle 54 inch

John Deere 425 54 Mower Deck Repair Rebuild w New Belt Install

8TEN Deck Belt for John Deere 54 inch GX 255 325 345 355 GT245 LX 280 288 X340 X500 M154960 Amazon Patio Lawn Garden

Description

Product Name: John deere 54 inch mower deck belt sale
John Deere Riding Lawn Mower Replacement Deck Belt 54 GX21395 sale, E180 54 in. Mower Deck sale, Deck Belt For John Deere M154960 M143923 sale, X590 54 in. Mower Deck sale, John Deere Mowing Deck Replacement Belt routing path Model 62 C for X700 series tractors sale, How to Install John Deere 54 Mower Deck sale, X390 54 in. Accel Deep Mower Deck sale, 5 8 X 160 Deck Belt For John Deere E180 100 Series Tractor 54 Inch Deck GX21395 sale, Ship from USA JOHN DEERE 54 GENUINE OEM DECK BELT GX21395 FOR D170 G110 LA150 LA175 190C ITEM NO E8FH4F85449840 Amazon Patio Lawn Garden sale, John Deere Mower Deck and Lift Linkage Attachment Mower Deck Accel Deepa 54 inch sale, 2004 John Deere 54C 54 Convertible Edge Mower Deck My Tractor Forum sale, Replace GX25998 Deck Belt 5 8 x 152 Fit for John Deere Lawn Mower with 48 Deck 54 Deck Z525E Z535M Z535R Z540M Z540R Drive Belt V Belt Made sale, Deck Belt Compatible with John Deere 54 Inch Deck GX 255 325 345 355 LX 280 2. eBay sale, X570 54 in. Mower Deck sale, John Deere Riding Lawn Mower Replacement Deck Belt 54 GX21395 sale, 723KB 2001 null null null null 3 null 3 2003 null syAj2GM1KaDbbM sale, MTD 490 501 M067 Deck Drive Belt 148 1 4 in L 0.672 in W 54 in Deck sale, John Deere Mower Deck 54 inch LX288 GT235 Sheave Blade Belt and Spindle 54 inch sale, John Deere 425 54 Mower Deck Repair Rebuild w New Belt Install sale, 8TEN Deck Belt for John Deere 54 inch GX 255 325 345 355 GT245 LX 280 288 X340 X500 M154960 Amazon Patio Lawn Garden sale, 740KB 2001 null null null null 15 2003 null syAj2GM1KaDbbM sale, 461KB 2001 null null null 3 3 2003 null IEGZ96E1GcAAQM sale, BELT V TYPE B SECTX138 Original Equipment Genuine Part OEM sale, E180 54 in. Mower Deck sale, How to Remove 54 Mower Deck From John Deere Riding Mower sale, John deere 425 54 inch mower deck belt TractorByNet sale, 8TEN Deck Belt for John Deere 54 inch GX 255 325 345 355 GT245 LX 280 288 X340 X500 M154960 Amazon Patio Lawn Garden sale, John Deere Mower Deck 54 inch Belt Idlers and Covers 54 inch sale, John Deere BG20945 54 Inch 137 cm Replacement Mower Deck 100 Series RDO Equipment Co sale, 8TEN Blade Spindle Belt Idler Kit for John Deere 54 inch X320 MK1005271 Walmart sale, Deck Kit Blade Belt for John Deere Z425 Z445 EZtrak M143520 M154295 54 Inch 803467155531 eBay sale, John Deere 445 Deck Belt Replacement Stens 54 Lawn sale, John Deere Z435 EZtrak Residential Zero Turn Mower 54 inch Deck PC12590 Mower Drive Belt Sheaves Spindles Blades 54 inch Mower Deck and Lift Linkage sale, MOWER DRIVE BELT SHEAVES SPINDLES AND BLADES D15 ATTACHMENT MOWER DECK 4000 SERIES CUTS John Deere 54 ATTACHMENT MOWER DECK 4000 SERIES CUTS 54 Inch 60 Inch and 72 Inch Mowers for sale, 8TEN Deck Belt for John Deere 54 inch GX 255 325 345 355 GT245 LX 280 288 X340 X500 M154960 Amazon Patio Lawn Garden sale.

John deere 54 inch mower deck belt sale